行业ETF风向标丨创新药ETF“吸金”,两只科创创新药ETF半日涨幅超5.5% ...

来自: 收藏 邀请

每经记者|刘明涛    每经编辑|赵云    

10月31日上午,芯片概念股出现大幅回调,多只芯片相关ETF交投活跃,科创芯片ETF(588200)、半导体ETF(512480)半日成交金额均超过10亿元,而白酒股出现反弹,酒ETF(512690)半日成交金额放大至12.59亿元。跨境ETF方面,随着创新药板块大涨,港股创新药ETF(513120)交易活跃度提升,半日成交金额高达88.34亿元。 

ETF涨幅榜上,今日上午创新药相关ETF集体大涨,其中,两只科创创新药ETF半日涨幅均超过5.5%,而多只港股通创新药ETF半日涨幅也在4%以上,涨幅居前。

投资逻辑来看,中国创新药行业迈向“全球引领”新阶段:在政策(如《全链条支持创新药发展实施方案》)的全链条支持下,中国创新药行业正迎来历史性拐点。产业呈现出从“仿制跟随”到“源头创新”的升级趋势,国际化进程通过火热的BD交易加速,同时多家企业商业化开始兑现,逐步实现“自我造血”,行业迎来盈利拐点。

点评:科创创新药ETF汇添富(589120)和科创创新药ETF国泰(589720)今日上午分别上涨5.84%和5.74%,其中,科创创新药ETF国泰(589720)规模相对较大,其份额为6.77亿份,半日成交金额达到1.5亿元。

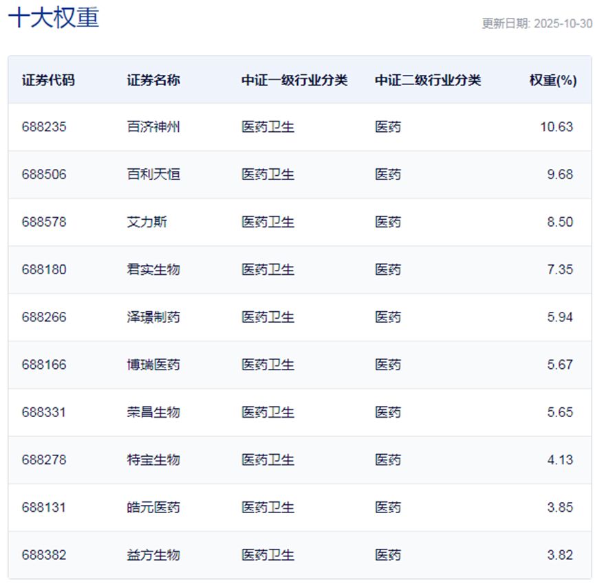
上证科创板创新药指数从科创板中精选30只业务涉及创新药的头部公司。指数权重分布相对分散,有效避免了个股风险过度集中的问题,同时能更好地捕捉不同阶段创新药企业的成长周期。

上证科创板创新药指数主要权重股



鲜花

握手

雷人

路过

鸡蛋
相关推荐
热门排行

在线客服(服务时间 9:00~18:00)

在线QQ客服
公司地址:贵州省贵阳市观山湖区长岭街道长岭路与观山路西北角中天会展城TA-1、TA-2栋(2)16层14号
电子邮箱:599599113@qq.com
客服电话:13765656037

Powered by 贵州阡乐科技有限公司 © 2025 qianlew.com Inc.( 黔ICP备2025043673号-1 )贵公网安备52011502009694号